Khi vận hành xe nâng Toyota 7FB Series, nếu bảng điều khiển hiển thị mã lỗi A0-1, điều đó cho thấy nhiệt độ của mạch chính trong bộ điều khiển động cơ truyền động đang tăng bất thường. Bài viết dưới đây sẽ hướng dẫn chi tiết cách kiểm tra, xác định nguyên nhân và xử lý lỗi A0-1 theo quy trình kỹ thuật chính hãng Toyota.
1. Cảnh báo quan trọng khi xử lý lỗi A0-1
- Nếu lỗi A0-1 và AB-1 xuất hiện cùng lúc, ưu tiên xử lý lỗi AB-1 trước.
- Ngắt phích cắm pin trước khi kiểm tra cáp nguồn hoặc cáp motor.
- Không để xe nâng hoạt động hoặc dừng lâu ở nơi nhiệt độ cao.
![]()
2. Nguyên nhân phổ biến gây lỗi A0-1
- Lỏng hoặc hỏng cáp nguồn/motor.
- Kết nối giắc bị lỗi hoặc rỉ sét.
- Dây dẫn (harness) hỏng.
- Cánh tản nhiệt hoặc quạt tản nhiệt bị nghẽn.
- Quạt làm mát bị lỗi hoặc không quay.
- Xe bị quá tải và hoạt động liên tục.
- Hỏng bộ điều khiển motor.
- Hỏng bo mạch điều khiển chính (Main Controller).
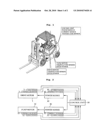
3. Sơ đồ mạch liên quan đến lỗi A0-1
Dưới đây là sơ đồ mạch kết nối giữa bộ điều khiển chính (Main Controller), bộ điều khiển motor (Drive Motor Driver), cảm biến nhiệt và các quạt làm mát:
- CN102-1 và CN104-3 → CN113 (Quạt làm mát 2)
- CN104-3 → CN112 (Quạt làm mát 1)
Nhiệt độ mạch chính được theo dõi bởi cảm biến nhiệt gắn trong Drive Motor Driver
![]()
Sơ đồ mạch liên quan đến lỗi A0-1
4. Quy trình kiểm tra và xử lý lỗi A0-1
4.1 Bước 1 – Kiểm tra hoạt động của quạt làm mát
-
Thực hiện lệnh [ANL] ACTIVE TEST 2/3 từ màn hình hiển thị để ép quạt quay.
-
Quan sát quạt có quay hay không.
| Kết quả | Xử lý |
|---|---|
| Không quay | Chuyển sang Bước 5 |
| Có quay | Chuyển sang Bước 2 |
4.2 Bước 2 – Kiểm tra lỗi hiển thị trên màn hình
-
Bật khóa điện, kiểm tra xem có hiển thị lỗi "DCR" không.
| Kết quả | Xử lý |
|---|---|
| Hiển thị "DCR" | Sang Bước 3 |
| Không hiển thị | Nhiệt độ đã hạ, lỗi do quá tải liên tục. Cần tránh tình trạng vận hành quá tải thường xuyên. |
4.3 Bước 3 – Ghi lại nhiệt độ và kiểm tra lại lỗi
-
Trên màn hình [ANL] → I/O TEMP/VOLT 1/5, ghi lại nhiệt độ mạch chính của Drive Motor Driver.
-
Tắt khóa điện và chờ xe nguội khoảng 15 phút.
-
Bật lại khóa điện, kiểm tra xem lỗi còn hiển thị không.
| Kết quả | Xử lý |
|---|---|
| Vẫn hiện "DCR" | Sang Bước 4 |
| Không hiển thị | Xác nhận lỗi do quá tải, cần cải thiện chế độ vận hành |
4.4 Bước 4 – So sánh nhiệt độ để xác định lỗi
-
Kiểm tra lại nhiệt độ sau khi xe nguội, so sánh với nhiệt độ đã ghi trước đó.
| Kết quả | Xử lý |
|---|---|
| Tăng ≥ 5°C | Quay lại Bước 3 |
| Tăng < 5°C | Xác định lỗi Drive Motor Driver bị hỏng |
4.5 Bước 5 – Kiểm tra giắc nối CN112 và CN113
-
Ngắt pin, kiểm tra trực quan xem có bụi bẩn, rỉ sét hoặc lỗi hở mạch ở CN112/CN113.
-
Gắn lại, thực hiện ACTIVE TEST 2/3 để kiểm tra quạt quay.
| Kết quả | Xử lý |
|---|---|
| Quạt quay | Giắc kết nối bị lỗi |
| Quạt không quay | Sang Bước 6 |
4.6 Bước 6 – Kiểm tra dây dẫn (Harness)
-
Ngắt pin, tháo các giắc CN102, CN104, CN112, CN113.
-
Dùng đồng hồ đo kiểm tra continuity và đo ngắn mạch theo tiêu chuẩn sau:
| Cặp kiểm tra | Yêu cầu |
|---|---|
| CN102-1 ↔ CN112-2 | Có tín hiệu |
| CN102-1 ↔ CN113-2 | Có tín hiệu |
| CN104-3 ↔ CN112-1 | Có tín hiệu |
| CN104-3 ↔ CN113-1 | Có tín hiệu |
| CN102-1 ↔ CN104-3 | Không có tín hiệu (no continuity) |
| Kết quả | Xử lý |
|---|---|
| NG (hỏng) | Thay dây dẫn |
| OK | Sang Bước 7 |
4.7 Bước 7 – Kiểm tra quạt làm mát
-
Cắm lại các giắc CN102, CN104, CN112, CN113.
-
Thực hiện ACTIVE TEST 2/3, ép quạt quay.
| Kết quả | Xử lý |
|---|---|
| Quạt quay | Lỗi do giắc kết nối |
| Quạt không quay | Hỏng quạt. Nếu thay quạt mới vẫn không quay, khả năng lỗi nằm ở bộ điều khiển chính (Main Controller) |
Tổng kết lại lỗi A0-1 trên xe nâng Toyota, với thông báo “Drive motor driver main circuit temperature abnormal rise”, là một dấu hiệu cảnh báo nghiêm trọng cho thấy hệ thống điều khiển motor chính đang quá nhiệt, có thể do quạt làm mát không hoạt động, kết nối giắc lỗi, dây dẫn đứt ngầm hoặc chính bộ điều khiển motor bị hỏng. Để xử lý triệt để, kỹ thuật viên cần thực hiện chẩn đoán theo quy trình chính hãng: từ kiểm tra quạt qua chế độ ACTIVE TEST, đánh giá tình trạng hiển thị lỗi “DCR”, ghi nhận và so sánh nhiệt độ của mạch chính, đến đo liên tục các dây dẫn và xác định các linh kiện hỏng hóc. Đồng thời, cần đánh giá lại điều kiện vận hành thực tế để tránh xe bị quá tải trong thời gian dài – một trong những nguyên nhân phổ biến gây lỗi A0-1.
Trong quá trình khắc phục những sự cố phức tạp như vậy, việc lựa chọn một đơn vị kỹ thuật uy tín là điều thiết yếu. TFV, với hơn 10 năm kinh nghiệm trong lĩnh vực sửa chữa và bảo trì xe nâng điện chính hãng Toyota, là đối tác tin cậy của hàng nghìn doanh nghiệp logistics và nhà máy tại Việt Nam. TFV không chỉ sở hữu đội ngũ kỹ sư chuyên sâu về hệ thống điều khiển, pin lithium và motor truyền động, mà còn có đầy đủ máy test chuyên dụng và linh kiện chính hãng giúp xử lý nhanh chóng các lỗi như A0-1, AB-1, DCR và nhiều mã lỗi điện tử khác.
Nếu xe nâng Toyota của bạn gặp lỗi nhiệt độ bất thường, quạt làm mát không hoạt động hoặc cần kiểm tra tổng thể hệ thống điều khiển – hãy để TFV đồng hành cùng bạn trong việc bảo đảm vận hành ổn định, tiết kiệm chi phí và nâng cao hiệu suất xe nâng trong hoạt động sản xuất – logistics hiện đại.
